- High Precision Multi-Axis Fiber Alignment Stage for Photonics Applications
- Piezoelectric Fine Adjustment with Sub-Nanometer Precision
- Precision Mechanics with Crossed Roller Bearings
- 18 x 18 x 18 mm Travel Range
- 50 x 50 x 50 PZT Fine Travel Range
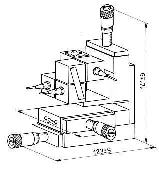
The F-110 Fiber Alignment Stage is a 3-Axis high precision NanoPositioning System for applications where a coarse "operating" position can be set manually and a scanning or tracking process (sub-nm resolution) is started from that position.
The F-110 alignment stage is based on the M-105.30 XYZ Translation Stage and an XYZ Piezo NanoPositioner.
A higher accuracy, closed-loop 3-axis piezo nanopositioning stage for fiber alignment is shown below:
The advantage of the piezoelectric high resolution motion control is based on the extremely high precision, responsiveness, and electrical controllability. If used with an external power meter and control software, the F-110 can be used as stabilization system for maximum optical power or as a scanner with a range of 50 x 50 x 50.
The E-463 Piezo Amplifier Driver is recommended as driving system. It comes with an analog high speed interface (0 to 10 V). For digital control with a computer, the E-500 Modular PZT Control System with E-507 amplifier modules and optional E-515.i3 computer interface is available.
More information on Active Fiber Optics and Photonics Alignment is here
ORDERING INFORMATION:
F-110.00 XYZ Fiber Positioning System, for Single Mode Fiber 18 mm, 50 µm
OPTIONS:
F-010.00 Fiber Holder with Magnet
| TECHNICAL DATA: | ||
Model | F-110.00 | Units |
Axes | X, Y, Z |
|
Travel range | 18 | mm |
Piezo fine travel range | 50 | µm |
Resolution (piezoelectric) | 0.5 | nm |
Resolution (micrometer drive) | 1 | µm |
Max. load (Z-axis) | 50 | N |
Mechanical positioning system | M-105.30 |
|
Piezoelectric positioning system | P-282.20 |
|
Weight | 1.1 | kg |
Recommended amplifier /controller | E-463; E-500 |
|













